Покупка и замена бокового зеркального элемента на Skoda Fabia
Производил замену самого отражающего элемента (стекляшки).Сама стекляшка отщелкивается достаточно просто любым плоским инструментом — спасибо EdemT за конструктивную критику. Процесс хорошо показан на видео:
Однако, когда лично я столкнулся с этой проблемой, пошел по более тернистому пути. Ниже, на правах истории (и ради фотографий в разобранном виде) оставляю свои приключения.
Заступив в должность владельца подержанного автомобиля, первое что я сделал (ну может после фото «рука, часы, руль») — занялся исправлением косяков предыдущего владельца. Самые бросающийся в глаза был водительский зеркальный элемент:

ПокупкаИменно в этот момент я стал знакомится с наичудеснейшим, миром автозапчастей предоставляемых «ексистом», со всем его разнообразием артикулов, лабиринтом каталогов, неоднозначностью взаимозаменяемости деталей разных моделей… Спустя долгие месяцы скрипения зубами, я все таки начал понемногу привыкать к этому странному миру и смог найти нужную деталь
Сразу обращаю внимание, что в моей Фабии левое зеркало с изогнутым краем. Если кто то в самом начале этого долгого пути артикул — 5J0 857 521 M.Ну правда мои поиски на этом не закончились
Во-первых, изначально искал я обычное, не изогнутое, зеркало (до этого на папиной фабии (красная на фото) стояло ровное, и видимо порой даже в самых маленьких мелочах, мы боимся всего нового). Во-вторых, узнав ценник на оригинальное (как и ровное так и выпуклое) зеркало, знакомится с миром деталей я попытался не с парадного, а с черного входа — мира китайских аналогов.Окончательно сбившись в поисках решил обратится к менеджерам вышеупомянутого магазина. Не могу их не порекламировать: мужчина с которым я общался лично при мне несколько раз звонил в салон шкоды, представляясь клиентом, долго выпытывая подойдет ли прямое зеркало на мою модель или нет. Было приятно, хоть и результат нулевой. Но правда и свою работу ребята знают — от покупки китайского меня все таки отговорили. В итоге купил изогнутый оригинал.
УстановкаТут я тоже пошёл не совсем стандартным путём. Перед тем как менять левое битое зеркало решил потренироваться и разобрать целое правое. (Я бы даже сказал что целое до того как я его разбирал…). Так что если кого тоже раздирает любопытство вот так выглядит зеркало в разборе:

Совет однако не снимать верхний кожух, так как у меня теперь не хватать одного фиксатора. Уже после того как разобрал понял что снять зеркало можно всего лишь сняв черную рамку по периметру, её держат пять фиксаторов:

Не знаю как это делают в салоне, я пользовался вот такой самодельной конструкцией их жесткой проволоки:

Для того чтоб добраться до каждой крутил стекло в противоположную сторону. Немного неудобно, но в принципе подлезть реально до каждой. (На фото правда показано без стекла, по другому не видно):



После того как рамка снята отщелкиваем само зеркало от круглого кронтштейна точно таким же образом. На фото расположения защелок и приблизительной ход разборки:



Результатом вполне доволен. При определенной сноровке снятие зеркала занимает считанные минуты и что то при этом сломать крайне сложно. (Сколько стоит в салоне к сожалению не в курсе, но думаю на второе зеркало хватило бы). Что касается изогнутого зеркала — привык за считанные дни. Обзор больше, искажения никак не напрягают, минус только один — на папиной стало ездить менее комфортно.
Назначение и конструкция
О назначении обогревателя заднего стекла можно судить уже по самому названию системы – путем нагрева он борется с конденсатом, оседающим на поверхность, причиной появления которого является разница температур в салоне и на улице.

В осенне-весенний период этот конденсат становиться причиной «запотевания» (образуется водная пленка, сильно ограничивающая обзорность), а зимой он превращается в наледь и иней, через которые вообще невозможно рассмотреть, что происходит сзади.
Что касается боковых зеркал, то они располагаются снаружи и «запотевать» или замерзать вроде не должны, поскольку перепад температур, как таковой – отсутствует. Зато есть иные причины, по которым на поверхности зеркала образуется водная пленка и иней, снижающие обзорность.

Конструкция любого обогревателя очень проста, и на всех авто они строятся по одному принципу. Если рассматривать только заднее стекло, то система его подогрева включает:
- Токопроводящие нити и шины, наносимые на прозрачную поверхность (с внутренней стороны);
- Провода питания подогревателя (запитка осуществляется от бортовой сети);
- Защитные элементы (реле, предохранитель);
- Органы управления (клавиша включения с сигнальным диодом, устанавливаемая на передней панели).

Основным рабочим элементом в этой цепи являются нити, проходящие по поверхности. Они обладают достаточно большим сопротивлением, что обеспечивает их нагрев при прохождении по ним электрического тока.
Нити соединяются с шинами, уложенными по краям стекла, вместе с ними они образуют решетку, соответствующую по размерам нагреваемой площади. Одна из шин подключается к цепи питания, а вторая – соединяется с «массой».
Как устранить неполадки с подогревом зеркал на автомобиле Шкода Фабия
Подогрев зеркал — важная функция, предоставляемая автомобилем Шкода Фабия. Однако иногда возникают ситуации, когда данная функция не работает должным образом. В данной статье мы расскажем, как самостоятельно решить проблему с подогревом зеркал на Шкода Фабия.
Проверьте включение подогрева зеркал
Перед началом диагностики необходимо убедиться, что подогрев зеркал включен. Обычно кнопка управления подогревом зеркал расположена на панели перед зеркалами водителя или на центральной консоли. Убедитесь, что кнопка подогрева зеркал находится в положении «ВКЛ» или «ON».
Проверьте предохранители
Если подогрев зеркал не работает, следующим шагом будет проверка предохранителей, отвечающих за эту функцию. Узнайте в руководстве по эксплуатации, где расположены предохранители подогрева зеркал и проверьте их на наличие повреждений. Если предохранители сгорели, замените их на новые.
Проверьте проводку и соединения
Если подогрев зеркал не работает даже после проверки предохранителей, возможно, проблема связана с проводкой или соединениями. Проверьте проводку от кнопки подогрева зеркал до самого зеркала. Убедитесь, что провода не повреждены и соединения не окислены. Если вы обнаружите повреждения или окисление, необходимо произвести их ремонт или замену.
Обратитесь к специалисту
Если после выполнения всех вышеуказанных действий подогрев зеркал все еще не работает, возможно, вам потребуется помощь специалистов. Не стоит пытаться решать проблему самостоятельно, если вы не обладаете достаточными знаниями и опытом в области автомобильных электросистем. Обратитесь в авторизованный сервисный центр Шкода для диагностики и ремонта.
Заключение
Подогрев зеркал — удобная функция, которая обеспечивает безопасность водителя в холодные периоды времени. Если подогрев зеркал на Шкода Фабия перестал работать, сначала проверьте его включение и состояние предохранителей. Далее проведите проверку проводки и соединений. Если ни одна из этих мер не помогла, обратитесь к специалистам в авторизованный сервисный центр Шкода для дальнейшей диагностики и ремонта.
Тема: Не работает регулировка правого зеркала
Не работает регулировка правого зеркала
- Просмотр профиля
- Сообщения форума
- Личное сообщение
- Записи в дневнике
- Просмотр статей
Всем Перцам — Перец Клуба! Регистрация 13.10.2006 Адрес Россия, Москва, ЮЗАО Возраст 48 Сообщений 14,048 Записей в дневнике 2
| Спасибо: |
| Получено: 179 Отправлено: 53 |
- Просмотр профиля
- Сообщения форума
- Личное сообщение
- Записи в дневнике
- Просмотр статей
Golf Регистрация 03.03.2010 Адрес Беларусь Гомель Возраст 33 Сообщений 625
| Спасибо: |
| Получено: 5 Отправлено: 11 |
- Просмотр профиля
- Сообщения форума
- Личное сообщение
- Записи в дневнике
- Просмотр статей
Всем Перцам — Перец Клуба! Регистрация 13.10.2006 Адрес Россия, Москва, ЮЗАО Возраст 48 Сообщений 14,048 Записей в дневнике 2
| Спасибо: |
| Получено: 179 Отправлено: 53 |
- Просмотр профиля
- Сообщения форума
- Личное сообщение
- Записи в дневнике
- Просмотр статей
Golf Регистрация 03.03.2010 Адрес Беларусь Гомель Возраст 33 Сообщений 625
| Спасибо: |
| Получено: 5 Отправлено: 11 |
- Просмотр профиля
- Сообщения форума
- Личное сообщение
- Записи в дневнике
- Просмотр статей
Всем Перцам — Перец Клуба! Регистрация 13.10.2006 Адрес Россия, Москва, ЮЗАО Возраст 48 Сообщений 14,048 Записей в дневнике 2
| Спасибо: |
| Получено: 179 Отправлено: 53 |
Сообщение от fenomen999
- Просмотр профиля
- Сообщения форума
- Личное сообщение
- Записи в дневнике
- Просмотр статей
Polo Регистрация 17.03.2011 Адрес Новая Москва. Солнцево-парк Сообщений 312
| Спасибо: |
| Получено: 5 Отправлено: 7 |
- Просмотр профиля
- Сообщения форума
- Личное сообщение
- Записи в дневнике
- Просмотр статей
Golf Регистрация 03.03.2010 Адрес Беларусь Гомель Возраст 33 Сообщений 625
| Спасибо: |
| Получено: 5 Отправлено: 11 |
Сообщение от TheTERMINATOR
- Просмотр профиля
- Сообщения форума
- Личное сообщение
- Записи в дневнике
- Просмотр статей
Pointer Регистрация 18.02.2012 Адрес Пенза Возраст 33 Сообщений 21
| Спасибо: |
| Получено: 0 Отправлено: 0 |
- Просмотр профиля
- Сообщения форума
- Личное сообщение
- Записи в дневнике
- Просмотр статей
Знатный Перец Клуба VW Passat B5! Регистрация 04.02.2012 Адрес Россия, Мытищи. Сообщений 5,738
| Спасибо: |
| Получено: 156 Отправлено: 279 |
Сообщение от siro
По моему у всех так Погоди может кто ещё чё скажет
— Добавлено чуть позже —
Сообщение от Domingos
- Просмотр профиля
- Сообщения форума
- Личное сообщение
- Записи в дневнике
- Просмотр статей
Golf Регистрация 03.03.2010 Адрес Беларусь Гомель Возраст 33 Сообщений 625
| Спасибо: |
| Получено: 5 Отправлено: 11 |
- Просмотр профиля
- Сообщения форума
- Личное сообщение
- Записи в дневнике
- Просмотр статей
Pointer Регистрация 18.02.2012 Адрес Пенза Возраст 33 Сообщений 21
| Спасибо: |
| Получено: 0 Отправлено: 0 |
- Просмотр профиля
- Сообщения форума
- Личное сообщение
- Записи в дневнике
- Просмотр статей
Passat Регистрация 20.03.2011 Адрес Беларусь — Новошахтинск-Енисейск Сообщений 1,574
| Спасибо: |
| Получено: 45 Отправлено: 24 |
Сообщение от siro
Это штатно. Для удобства при парковке.
— Добавлено чуть позже —
Сообщение от siro
- Просмотр профиля
- Сообщения форума
- Личное сообщение
- Записи в дневнике
- Просмотр статей
Pointer Регистрация 18.02.2012 Адрес Пенза Возраст 33 Сообщений 21
| Спасибо: |
| Получено: 0 Отправлено: 0 |
Сообщение от Sergei8
Это штатно. Для удобства при парковке.
— Добавлено чуть позже —
Разобрать и установить нормально
- Просмотр профиля
- Сообщения форума
- Личное сообщение
- Записи в дневнике
- Просмотр статей
Passat Регистрация 20.03.2011 Адрес Беларусь — Новошахтинск-Енисейск Сообщений 1,574
| Спасибо: |
| Получено: 45 Отправлено: 24 |
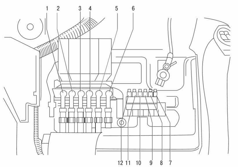
Блок под капотом
Монтажный блок с предохранителями и плавкими вставками находится в крышке аккумуляторного отсека.

Вариант 1

- Генератор 175А
- Не занят
- 80A внутренний
- 60А Дополнительный электрообогрев
- 40A внутренний
- 50А Вентилятор охлаждения, свечи накаливания
- 50A Электрическое рулевое управление
- 25А АБС, ESP, ASR
- Вентилятор охлаждения 30А
- 5A Вентилятор охлаждения
- 40А АБС, ESP, ASR
- 5A Блок управления
- 5А АКПП, 40А Дополнительный подогрев
Вариант 2

| один | Генератор 175А |
| 2 | Электрический блок управления 80А |
| 3 | 60А Дополнительный отопитель |
| 4 | 40A Hydro — электронный блок управления ABS |
| 5 | 50A Блок управления усилителем рулевого управления |
| 6 | Свечи накаливания 50А |
| 7 | 5A Автоматическая коробка передач |
| восемь | 40A Электрический блок управления |
| девять | Вентилятор охлаждения 30А |
| 10 | 5А Кондиционер |
| одиннадцать | Вентилятор охлаждения 30А |
| 12 | 25A Hydro — электронный блок управления ABS |
> Сервисное руководство
Более подробную информацию о ремонте, эксплуатации и обслуживании Skoda Fabia 2 вы можете получить в этом руководстве: «»
Не работает печка, салон не прогревается в Skoda Fabia 2
Решено, раз такое дело заказывать новый моторчик печки! И менять термопред!

Пришлось подзаработать денюжек немного, и вперед! Пришел заказ через 14 дней, все это время не работает прикуриватель шкода фабия 2 ездил с открытыми окнами и задыхался от духоты и выхлопных газов! Шум конечно тоже стоял приличный! И вот свершилось! Так я еще ни одну зап. Я помчался в exist не работает прикуриватель шкода фабия 2 первому зову смски на всех парах! Примчался домой, снял бардачок, вытащил термопред, сходил поменял его дома на новый!
Спустился, открутил старый моторчиквставил новый, прикрутил, все подсоединил, поменял предохранитель! Накинул минусовую клемму! И с огромным удовольствием совершил запуск двигателя и поворот регулятора печки!
Мораль такова: скупой платит дважды, купите моторчик один раз и живите в тишине и прохладе наслаждаясь жизнью! За все время что я ездил с опущенными стеклами, у меня мозги кипели в жару! Мое поведение было похоже на поведение сумасшедших тазоводов! А сейчас едешь себе, никуда не спешишь, пропускаешь всех, улыбаешься и слушаешь любимые песни по радио. Причин для поломки отопителя салона Шкода Октавия может быть множество.
Симптомы того, что печка работает неправильно или плохо греет, проявляются также по-разному: от белого налета на внутренней поверхности стекол и запаха гари из воздуховода, скрипов и шума при работе печки до полного выхода ее из строя. Отопительная и вентиляционная система салона составляет множество деталей, а если выйдет из строя какая-то из них, это приведет к непредсказуемым поломкам.
голоса
Рейтинг статьи
Стекла заднего вида
Стекла заднего вида являются важной частью автомобильной конструкции, обеспечивая безопасность во время движения. Они позволяют водителю осматривать обстановку сзади и контролировать происходящее на дороге
Стекла заднего вида могут иметь различные функции и свойства:
- Обогрев – некоторые автомобили оснащены стеклами заднего вида с системой обогрева, которая предотвращает образование инея и обеспечивает хорошую видимость в условиях низких температур.
- Импульсные дефлекторы – некоторые стекла заднего вида могут быть оснащены импульсными дефлекторами, которые улучшают аэродинамику и снижают шум при движении.
- Тонировка – некоторые автомобили могут иметь тонированные стекла заднего вида, которые защищают от солнечных лучей и повышают комфорт в салоне.
Для замены стекла заднего вида необходимо обратиться к специалистам, так как процесс требует профессионального оборудования и навыков. При выборе стекла необходимо учитывать марку и модель автомобиля, а также его технические характеристики.
Важно помнить, что повреждение стекла заднего вида может быть опасным для безопасности водителя и пассажиров. Любые трещины, сколы или другие дефекты должны быть немедленно устранены
В случае повреждения стекла заднего вида рекомендуется обратиться к профессиональным сервисным центрам, которые проведут диагностику и ремонт с соблюдением всех необходимых требований и стандартов безопасности.
Блоки в салоне
Блок предохранителей
Он находится под рулевым колесом и прикрыт защитным кожухом.
фото — пример

На задней крышке должно быть обновленное описание агрегата для вашего автомобиля.

Серийный номер этого обозначения будет размещен в правом углу. Вот 4 наиболее распространенных варианта:
- 5J0010675 — Fabia с 2007 по 2010 год.
- 5J0010743 — Fabia с 2010 по 2012 год
- 5J0010623A — Fabia 2 с 2007 по 2010 (дорестайлинг)
- 5J0010826P — Fabia с 2012 по 2015 год
Следовательно, обозначение может измениться.
Общая схема

Описание
- Не принято
- Реле стартера 5А
- 7.5A Электроника двигателя, блок управления бортовой сетью, регулятор угла наклона фар, диагностика интерфейса шины данных, стабилизатор напряжения
- Блок управления АБС 5А, датчик угла поворота рулевого колеса, кнопка режима Старт-стоп
- Устройство круиз-контроля 5А (для бензиновых двигателей)
- 10А Фонарь заднего хода, (для автомобилей с МКПП)
- 5A Блок управления двигателем, Система зажигания (для автомобилей с механической коробкой передач), 7.5A Электронная система двигателя, Рычаг предварительного выбора автоматической коробки передач
- 5A Выключатель педали тормоза, Выключатель педали сцепления, Блок управления вентилятором радиатора
- 5А Блок управления адаптивным освещением и регулировкой угла наклона фар, Блок управления кондиционером, климат-контролем, вентилятором радиатора, блоком управления парктроником.
- не принято
- 5A Регулировка наружных зеркал заднего вида
- 5А Блок управления распознавания прицепа
- 5A Мехатроник коробки передач с двойным сцеплением, блок управления автоматической коробкой передач
- 10A Модуль адаптивного света левой фары, Модуль адаптивной фары правой стороны
- Преобразователь напряжения 5А 12В / 5В, Навигация
- 5A Блок управления двигателем, реле топливного насоса, датчик спидометра (для автомобилей без АБС), блок управления топливным насосом
- 7.5A Левая или правая лампа дневного света (ДХО), левый или правый светодиодный модуль ДХО и габаритный свет
- 5A Обогрев наружных зеркал заднего вида
- 5A Контакт S
- 15А Блок управления топливным насосом
- 10A Фонарь заднего хода для автомобилей с АКПП или противотуманными фарами при подключении через BCM
- 7,5А Панель приборов, диагностический разъем, блок управления, многофункциональное рулевое колесо (без системы старт-стоп)
- 15А Внутреннее освещение кузова, полка для хранения, освещение багажного отделения
- 5А Блок управления бортовой электросетью автомобиля
- Сиденья с подогревом 20А
- Электродвигатель заднего стеклоочистителя 10А
- не принято
- 10A Электроника двигателя
- 10A Электроника двигателя
- 15A / 20A Топливоподкачивающий насос, трансформатор высокого напряжения системы зажигания, датчик положения педали сцепления, реле малой тепловой мощности, круиз-контроль (для дизельных двигателей)
- Лямбда-зонд 10А
- 15A Клапан регулировки давления топлива
- 15А Блок управления двигателем
- 20A Вакуумный насос тормозной системы, Блок управления двигателем, Электронная система двигателя
- 5А Контрольная лампа корректора фар
- 15A Дальний свет
- 7.5A Левая задняя противотуманная фара, задняя противотуманная фара
- 10A Противотуманная фара
- Вентилятор 30А для приточного воздуха
- Выключатель стеклоочистителя заднего стекла 15А, резистор обогрева омывателя лобового стекла
- не принято
- 25А Обогрев заднего стекла
- 20A Звуковые сигналы
- Электродвигатель стеклоочистителя 20А
- 10А Электродвигатель центрального замка в крышке багажника (Центральный замок)
- 15А Противоугонная сигнализация (для системы старт-стоп)
- Прикуриватель 15А, розетка 12В
- Блок управления АБС 15А
- 15A Указатель поворота
- 10A Радионавигация
- 25A Блок управления двери водителя, Блок управления задней левой двери
- 25A Блок управления двери переднего пассажира, Блок управления задней правой двери
- 25A Блок управления сдвижной крышей
- Противоугонная 15А (без системы старт-стоп)
- Механическая коробка передач с двойным сцеплением 30А
- 25А Реле омывателя фар
- 15A Ближний свет и диапазон фар, левая сторона
- 15А Лампа наклона для ближнего света и передних фар, правая сторона
Предохранитель №47, 15А, отвечает за прикуриватель. А для уборщицы номер 10 или 40.
Блок реле
Расположен в дальнем конце приборной панели за левой крышкой.

Схема

Расшифровка
- R9 — реле кондиционера;
- R4 — реле подачи топлива на напорную магистраль;
- R1, R6, R11-R15 — резерв;
- R8 — реле топливного насоса;
- R7 — реле передних габаритных огней;
- R5 — силовое реле;
- R10 — контакт реле «Х»
- R2 — реле обогрева лобового стекла (в зависимости от комплектации);
- R3 — реле блокировки стартера;
Ремонт зеркала заднего вида часть 1
Всем доброго времени суток, как и обещал выкладываю отчет о установке зеркала, начнем с того что maxim1stm-ru подробно описал эту процедуру в своем бортовике, на который я и опирался и так все части зеркала наконец то приехали номерки их вот тутУра, можно приступить к установке, а то две недели без зеркала вообще невыносимо.Этап первый и пожалуй самый сложный.

Самым первым делом аккуратно выковыриваем зажимную шайбу не что бы ее сохранить а чтобы пружина не выстрелила потому что она там ну очень сильно сжата. Далее её можно выбросить. Далее достаем провода, расщелкнув фишку и вытаскиваем их полностью, внизу зеркала есть крышка для этого. Сверлим на её месте отверстие куда будем засовывать штифт держащий пружину.

Ставим на место новую нижнюю часть,


на нее подбираем шайбу, сжимаем все это дело, я приспособил струбцину(предварительно болгаркой пропилив в ней отверстие)


и делал все на месте, не снимая несущей части зеркала с двери…кому как удобно кароче))) ну а дальше быстро засовываем в отверстие штифт

и расслабляем струбцину.

Дальше все просто, просовываем на место провода присоединяя их к электро регулировке и зеркальному элементу и защелкиваем все части зеркала на свои места) в общем то всё! продолжение в следующей записи) сюда
Причины неисправности и их устранение
Нередко бывает такое, что дворники не реагируют на переключение режимов. Если вы включили дворники и при переключении рычага не слышно звуков электродвигателя или щелчков реле, причина может скрываться в трех местах:
В такой ситуации изначально нужно проверить работоспособность предохранителя. Он располагается на монтажной плате с обозначением F5. Проверить его рабочее состояние можно при помощи обычного тестера. Также нужно проверить биметаллический предохранитель, расположенный в редукторе очистителя. Если перестали работать дворники на ВАЗ-2114 в зимнее время, причина, скорее всего, одна – сильный мороз. Этот же предохранитель не позволяет включиться стеклоочистителю в случае перегрева или примерзанию щеток к ветровому стеклу.
Далее необходимо проверить реле («КЗ» на монтажной плате). Его нужно найти и временно поменять на новый прерыватель, после чего проверить работу дворников. Если стеклоочиститель не функционирует, продолжаем искать проблемное место. Самостоятельно поверить работу переключателя довольно затруднительно. Он состоит из сложной конструкции, поэтому его проще поменять, чем пытаться отремонтировать. В случае если вместе со стеклоочистителем отказались работать поворотник, проблемное место – переключатель, расположенный под рулем.
Все предохранители в Skoda Octavia A5

А может кто подскажет код этого блока.
Проверка предохранителей на авто без их извлечения.
Skoda — известный чешский производитель автомобилей. Также на Туре расположение гнезда прикуривателя не очень удобно для подключения к нему различных устройств. Блок предохранителей в салоне:


Поэтому внимательно ознакомьтесь с инструкцией, укажите, какой предохранитель за что отвечает и на какую силу тока рассчитан.

Перечень работ и цены ТО Выбор чехлов на сиденья. С помощью отвертки подденьте фиксаторы защелки.
Инструкции, книги, мануалы по ремонту автомобилей
В общем, внимательно прочитав сайт, я решил дважды проверить, правильно ли я установил проповедники после изъятия и оказалось, что я поставил один не в том месте. Блоки предохранителей расположены в двух местах:.
Проверить предохранитель — вентилятор отопителя и кондиционера.
Дальний свет не выключается переключателем на рулевой колонке и нет кратковременного дальнего света, главный выключатель выключен. Распечатайте на обычном листе формата А4, вставленном в бардачок автомобиля. Если вам понадобится схема, она всегда будет у вас под рукой!
Ремонт блока предохранителей и реле. Монтажный блок.
Подскажите, есть ли предохранители на задние фонари Octavia A5? Снял задний бампер и правая задняя противотуманная фара перестала гореть. Поставил такую же лампу в другое место, все в одном луче, работает. Но он работает на своем месте как обертка, а не как противотуманная фара.

Дело в том, что при заводской настройке включена только одна задняя левая противотуманная фара. Тянем панель к себе.
Открутите 2 торкса, которые крепят блок предохранителей к панели, и снимите заднюю крышку блока. Чтобы вставить проводку в блок предохранителей, вытащите нужную фиолетовую перегородку и вставьте клемму в розетку. В том же дефлекторе я использовал запасной предохранитель заднего дворника, выставив его на 5 ампер.

Питание подается при включенном зажигании — это то, что мне нужно. Закрываем крышку блока и прикручиваем на место. Разбираем картридж, запоминаем резьбы: Обрезаем нить оставляя около см.

Подключаем плюсовой провод разветвителя к проводке от блока поворотом или через клеммы мама-папа замыкаем соединение термоусадкой. На минусовой провод надеваем кольцевую клемму и подключаем к массе автомобиля. Под рулевой колонкой есть специальный болт, но набора головок у меня под рукой не было и я не мог открутить его гаечным ключом, он был очень тугим.
Поэтому закрепил провод на ближайшем торксе, это видно на фото. Поэтому внимательно ознакомьтесь с инструкцией, укажите, какой предохранитель за что отвечает и на какую силу тока рассчитан.





























